六角ボルトとは、名前のとおり、頭部が六角形のねじで、「ボルト」と言えば六角ボルトのことを言います。一般的にはナットと一緒に使われ、レンチやスパナなどを使って締め付けるため、十字穴のねじなどより、強く締め付けることができるのが特徴です。
JIS
B1180-2014
【六角ボルト(全)】
|
ねしの呼び(d)
|
ピッチ
|
s
|
k
|
|
基準寸法
|
基準寸法
|
||
|
※M3
|
0.5
|
5.5
|
2
|
|
※M4
|
0.7
|
7
|
2.8
|
|
※M5
|
0.8
|
8
|
3.5
|
|
M6
|
1.0
|
10
|
4
|
|
M7
|
1.0
|
12
|
55
|
|
M8
|
1.3
|
13
|
55
|
|
M10
|
1.5
|
17
|
7
|
|
M12
|
1.8
|
19
|
8
|
|
M14
|
2.0
|
22
|
9
|
|
M16
|
2.0
|
24
|
10
|
|
M18
|
2.5
|
27
|
12
|
|
M20
|
2.5
|
30
|
13
|
|
M22
|
2.5
|
32
|
14
|
|
M24
|
3.0
|
36
|
15
|
|
M27
|
3.0
|
41
|
17
|
|
M30
|
3.5
|
46
|
19
|
|
M33
|
3.5
|
50
|
21
|
|
M36
|
4.0
|
55
|
23
|
|
M39
|
4.0
|
60
|
25
|
|
M42
|
4.5
|
65
|
26
|
|
M48
|
5.0
|
75
|
30
|
※印がついている商品はあら先になります。
【六角ボルト(半)】
|
ねしの呼び(d)
|
ピッチ
|
k
|
s
|
e
|
|
基準寸法
|
基準寸法
|
約
|
||
|
M6
|
1
|
4
|
10
|
11.5
|
|
M7
|
1
|
5
|
11
|
12.7
|
|
M8
|
1.25
|
5.5
|
13
|
15
|
|
M10
|
1.5
|
7
|
17
|
19.6
|
|
M12
|
1.75
|
8
|
19
|
21.9
|
|
M14
|
2
|
9
|
22
|
24.4
|
|
M16
|
2
|
10
|
24
|
27.7
|
|
M18
|
2.5
|
12
|
27
|
31.2
|
|
M20
|
2.5
|
13
|
30
|
34.6
|
|
M22
|
2.5
|
14
|
32
|
37
|
|
M24
|
3
|
15
|
36
|
41.6
|
|
M27
|
3
|
17
|
41
|
47.3
|
|
M30
|
3.5
|
19
|
46
|
53.1
|
|
M33
|
3.5
|
21
|
50
|
57.7
|
|
M36
|
4
|
23
|
55
|
63.5
|
|
M39
|
4
|
25
|
60
|
69.3
|
|
M42
|
4.5
|
26
|
65
|
75
|
|
M48
|
5
|
30
|
75
|
86.5
|
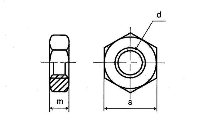
【六角ナット(3種)】
|
呼び
|
m
|
s
|
|||||
|
基準寸法
|
許容差
|
基準寸法
|
許容差
|
||||
|
上
|
中
|
並
|
上
|
中・並
|
|||
|
M2
|
1.2
|
0
-0.25 |
ー
|
ー
|
4
|
0
-0.2 |
ー
|
|
M2.3
|
1.4
|
4.5
|
|||||
|
M2.5
|
1.6
|
5
|
|||||
|
M2.6
|
1.6
|
5
|
|||||
|
M3
|
1.8
|
5.5
|
|||||
|
M3.5
|
2
|
6
|
|||||
|
M4
|
2.4
|
7
|
|||||
|
M4.5
|
2.8
|
0
-0.3 |
8
|
||||
|
M5
|
3.2
|
8
|
|||||
|
M6
|
3.6
|
0
-0.48 |
±0.6
|
10
|
-0.6
|
||
|
M7
|
4.2
|
11
|
0
-0.25 |
0
-0.7 |
|||
|
M8
|
5
|
13
|
|||||
|
M10
|
6
|
17
|
|||||
|
M12
|
7
|
0
-0.36 |
0
-0.58 |
±0.8
|
19
|
0
-0.35 |
0
-0.8 |
|
M14
|
8
|
22
|
|||||
|
M16
|
10
|
24
|
|||||
|
M18
|
11
|
-0.43
|
-0.7
|
±0.9
|
27
|
||
|
M20
|
12
|
0
-0.43 |
0
-0.70 |
±0.9
|
30
|
-0.35
|
-0.8
|
|
M22
|
13
|
32
|
0
-0.4 |
0
-1.0 |
|||
|
M24
|
14
|
36
|
|||||
|
M27
|
16
|
41
|
|||||
|
M30
|
18
|
18
|
|||||
|
M33
|
20
|
0
-0.52 |
0
-0.84 |
±1.0
|
50
|
||
|
M36
|
21
|
55
|
0
-0.46 |
0
-1.2 |
|||
|
M39
|
23
|
60
|
|||||
|
M42
|
25
|
65
|
|||||
|
M45
|
27
|
70
|
|||||
|
M48
|
29
|
75
|
|||||
|
M51
|
31
|
0
-0.62 |
0
-1.0 |
±1.2
|
80
|
||
|
M56
|
34
|
85
|
0
-0.55 |
0
-1.4 |
|||
|
M60
|
36
|
90
|
|||||
|
M64
|
38
|
95
|
|||||
|
M68
|
40
|
100
|
|||||
グリーンサイトライセンス 地球温暖化防止活動貢献:植林